කර්නාන් නාමාවලිය >>>> මාර්ගගතව බලන්න   බාගත .zip කරුණාකර අපගේ වෙබ් අඩවියට පිවිසෙන්න වේගවත් සේවාදායකයක් තෝරන්න!අපේ ඉංග්රීසි සේවාදායකය බලන්න!අපේ චීන සේවාදායකයා හමුවන්න!


LED බිත්ති ආලෝකය
අනෙකුත් මාදිලි බලන්න >>
1.
2.
3.
4.
5.
6.
7.
8. 26W 48W රේඛා IP20 DMX RGB හෝ ස්ථාවර LWW-3 LED බිත්ති සෝදන යන්ත්රය
9.
10.

26W 48W රේඛා IP20 DMX RGB හෝ ස්ථාවර LWW-3 LED බිත්ති සෝදන යන්ත්රය. LED වෝල් වයිසර් ආලෝකය. Festive Lights හි ප්රබල නව පරාසයක නව පරාසයක විහිදෙන LED Wall Wall Washer මාලාව, මෘදු මනෝභාවය නිර්මාණය කිරීම, ඍතුමය පසුබිම ආලෝකනය ලබා දීම. විශේෂයෙන්ම කිහිපදෙනෙකු එකට එකතු වී හෝ විශාල ප්රදේශ ආවරණය කරමින් විශාල බලපෑමක් ඇතිවන විට, විශේෂයෙන් පටු භූමි ප්රදේශයක් සඳහා යොදා ගත හැකිය. අපගේ LED බිත්ති රෙදි සෝදන යන්ත්ර ප්රධාන වශයෙන් භාවිතා කරන්නේ සැරසිලි සහ ගොඩනැඟිල්ල හෝ උද්යානය ඉස්මතු කිරීමයි. අපගේ පරාසය වර්ණ වෙනස් කිරීමේ රෙදි සෝදන යන්ත්ර බහු-වර්ණ ලබා දෙයි, උදාසීන වීම, මැලවීම හෝ ස්ථිතික වීම. එය ස්වාධීන මාදිලියකින් සහ DMX මාදිලියකින් ක්රියා කළ හැකි අතර, විවිධ වර්ණ වෙනස්වන ආචරණ ජනනය කරනු ලැබේ. DMX 256 පන්තිය අළු ප්රමාණයේ ඩිමර්, DMX ක්රමලේඛ (බොහෝ දර්පණ ආලෝකය සම්බන්ධ වූ විට දහස් ගණනක බලපෑමක් ඇත.) අපේ ආලෝක පාලන ක්රම: ස්වාධීන ප්රකාරය / මාස්ටර් / වහල් ක්රමය / DMX / RGB හෝ ස්ථීර( 26W 48W රේඛා IP20 DMX RGB හෝ ස්ථාවර LWW-3 LED බිත්ති සෝදන යන්ත්රය )

26W 48W රේඛා IP20 DMX RGB හෝ ස්ථාවර LWW-3 LED බිත්ති සෝදන යන්ත්රය

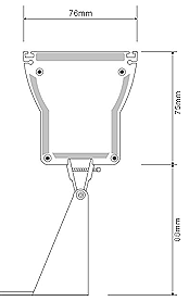
A:Structure and Specification:
Size: L500 (1000)*W76*H 163mm
Material of Shell: aluminum alloy
Weight: 2.5kgs( 500mm ), 4kgs( 1000mm )
Rotary angle: 180°
B:Technical Parameters
Input Voltage : 100V~256V AC
Operating Voltage : 24V DC
Protection Rating : IP20
Operating Temperature : -20°C ~40°C
ITEM NO.
LED Quantity
Color
Current
Power Consumption
Length
LWW-4-12P
12 Power LED
R-4, G-4, B-4
0.12A(Max.)
26.4 Watts
500mm
LWW-4-24P
24 Power LED
R-8, G-8, B-8
0.22A(Max.)
48.4 Watts
1000mm

LED බිත්ති ආලෝකය
කාර්නාර් ඉන්ටර්නැෂනල් ගෲප් ලිමිටඩ්
structure


LED බිත්ති ආලෝකය
කාර්නාර් ඉන්ටර්නැෂනල් ගෲප් ලිමිටඩ්
LWW-4-12P
LED බිත්ති ආලෝකය
කාර්නාර් ඉන්ටර්නැෂනල් ගෲප් ලිමිටඩ්
LWW-4-24P

26W 48W රේඛා IP20 DMX RGB හෝ ස්ථාවර LWW-3 LED බිත්ති සෝදන යන්ත්රය

අනෙකුත් මාදිලි බලන්න >>
1.
2.
3.
4.
5.
6.
7.
8. 26W 48W රේඛා IP20 DMX RGB හෝ ස්ථාවර LWW-3 LED බිත්ති සෝදන යන්ත්රය
9.
10.


 
LED වාණිජ ආලෝකය
   LED බිත්ති ආලෝකය
   LED ජලගැල්මක්
   LED පන්ෙල් ආලෝකය
   LED තීරු ආලෝකය
   LED ආලෝකය
   LED සිවිලිං ආලෝකය
   LED වෙඩෝනය ආලෝකය
   LED නියොන් නලයක්
   LED භූගත ආලෝකය
   LED ලාම්පුවක්
LED නිවාඩු ආලෝකය
   LED ලයිට් ආලෝකය
   LED තිර එළිය
   LED ආලෝකය
   LED icicle ආලෝකය
   LED ආලේපිත ටයිප් ආලෝකය
   LED රබර් කේබල් ආලෝකය
LED අථත්ය යථාර්ථය ආලෝකය
   LED පොල්තෙල් ආලෝකය
   LED චෙරි ආලෝකය
   LED පොල් පල් ගස් ආලෝකය
අමතර උපාංග
   පාලකය
   ප්ලග් ප්ලග් එක
   බල සැපයුම
ඇසුරුම් කිරීම
නිෂ්පාදන සහතිකය
   වෙළඳ නාමය සහ පේටන්ට්
   සහතිකය
 

Karnar in Globalsources.com

Karnar in youtube

අපි පහත සඳහන් තොග සැපයුම සඳහා සහය දක්වයි

ගුවන්, මුහුදින්

Shipment by UPS ! Shipment by DHL !

Shipment by TNT ! Shipment by EMS !



අපි ගෙවීම් වලට යටින් සහාය දෙනවා

වයර් ට්රාන්ෆර්

Pay by Western union !

Pay by Paypal, credit card !


   
 
 
©2005-2018 Karnar   අප අමතන්න   අඩවි සිතියම  Last modified: December 28 2025 03:40:42.

shqiptar   العربية   አማርኛ   Azərbaycan   Gaeilge   Eesti keel   Euskal   беларускі   български   Íslensku   Polski   Bosanski   فارسی   Burry (Afrikaans)   dansk   Deutsche Sprache   Русский язык   Français   Filipino   suomalainen   Frysk   ភាសាខ្មែរ   ქართული   ગુજરાતી   Қазақша   Kreyòl Ayisyen   한국어   Hausa   Nederlands   Кыргыз тили   Galego   Català   Česky   ಕನ್ನಡ   Corsa   hrvatski   Kurdî   Latine   Latviešu   ລາວ   Lietuviškai   Lëtzebuergesch   românesc   Malagasy   Malti   मराठी   മലയാളം   Melayu   Македонски   Maori   Монгол хэл   বাংলা ভাষার   မြန်မာ   Miao   IsiXhosa saseMzantsi Afrika   I-South African Zulu   नेपाली   norsk språk   ਪੰਜਾਬੀ   Português   پښتو   Chichewa   日本語   svenska   Samoa   Српски   Sesotho   සිංහල   Esperanto   slovenského jazyk   Slovenščina   Kiswahili   Gàidhlig na h-Alba   Sugbo   Somali   Тоҷикӣ   తెలుగు   தமிழ் மொழி   ไทย   Türk dili   Cymraeg   اردو   Українська   O'zbek   Español   עברית   Ελληνικά   Hawaiian   سنڌي   magyar   Shinra   Հայերեն   Asụsụ Ibo   lingua italiana   ייִדיש   हिन्दी   Sunda Indonesian   Bahasa indonesia   Wong Jawa   Yorùbá   Người việt nam   中文(繁體)   中文(简体)